Description
Product ID
MS 183 7
Product Category
Mounting Material for Single Semiconductors
Description
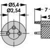
for semiconductor-design TO 18
Parameters
Features
| for transistor | TO 18 |
| material | polyamide 6, GF reinforced |
| temperature range | permanent up to 100°C |
| class of inflammability | UL 94 V-0 |







